Packaging Clamp Force Tester – QualiCFT-3000 Clamping Force Testing Machine Technical Specifications
| Model | QualiCFT-3000 |
|---|---|
| Max. Capacity | 400-3000 lb |
| Max. Specimen weight | 600kg (can be customized) |
| Power Controller | Windows, RS-232port |
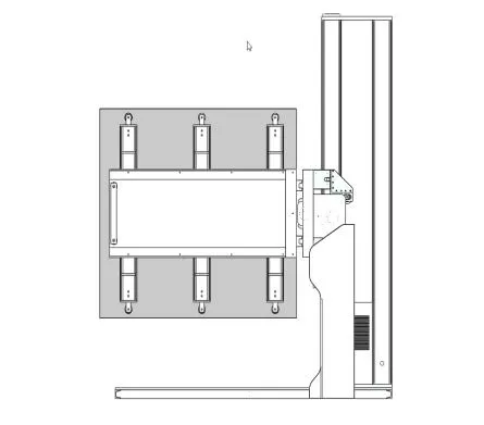
| Sensor | 6 units |
| Motor | Servo motor, DC variable speed drive system, high-precision mechanical ball screw rod |
| Force Unit | Kgf/N/Lbf |
| Sensor Accuracy | 1/250,000 |
| Load precision | In ±0.25% |
| Smoothness | within ±2.5mm |
| Sensor resolution | 1/250,000 |
| Clamping Plate Size | Height 48 inch, depth 48 inch |
| Clamp Plate Adjustable height | 0-1,000mm |
| Clamp Plate Adjustable width | 200-2000mm |
| Base plate size | 2200 x 2100mm |
| Test speed | 0.25-2.5mm/sec (according to ISTA 6 - SAMS CLUB) |
| Software | Independent research and development system |
| Data display | Load, displacement, speed, loading rate, elapsed time |
| Function | The clamp can be up and down |
| Clamping plate requirements | Make the two clamping boards flat and non-deform under work condition (2000 pounds) and make clamping board parallel and clamping board and land vertical. Clamping board is thicker than 25mm. |
| Safety features | 1) E-stop; 2) Over-load protection; 3) Upper and lower limit switches; 4) Load sensor with automatic retreat |
| Improve displacement and velocity | The lifting speed and displacement computer adjustable 0-1200mm. Improve accuracy of displacement shall prevail the ruler. |
| The maximum allowable specimen height | 2.2m, adding displacement height 1.2m, equipment overall height about 2.8m |
| Packing dimension | 11.2CBM |
| Gross weight | 1000 kg |
| Voltage | Three-phase, 380 ± 10%, 50/60HZ (Special voltages upon request) |





Comment