Máy kiểm tra lực kẹp bao bì – Máy kiểm tra lực kẹp QualiCFT-3000 Thông số kỹ thuật
| Mô hình | QualiCFT-3000 |
|---|---|
| Tối đa Sức chứa | 400-3000 lb |
| Trọng lượng mẫu tối đa | 600kg (có thể tùy chỉnh) |
| Bộ điều khiển nguồn | Windows, cổng RS-232 |
| cảm biến | đơn vị 6 |
| động cơ | Động cơ servo, hệ thống truyền động tốc độ biến thiên DC, thanh trục vít bi cơ học có độ chính xác cao |
| Đơn vị lực lượng | Kg/N/Lb |
| Độ chính xác của cảm biến | 1/250,000 |
| Tải chính xác | Trong ±0.25% |
| Độ mịn | trong vòng ±2.5mm |
| Độ phân giải cảm biến | 1/250,000 |
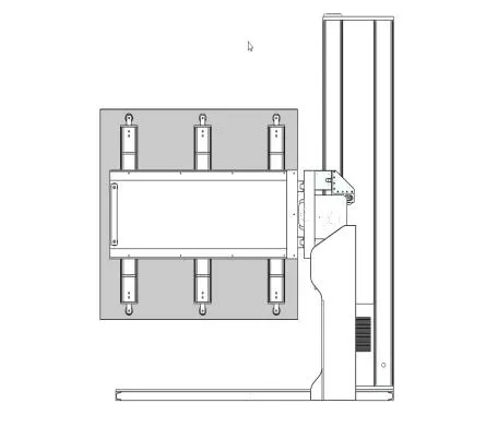
| Kích thước tấm kẹp | Chiều cao 48 inch, chiều sâu 48 inch |
| Tấm kẹp có thể điều chỉnh chiều cao | 0-1,000mm |
| Tấm kẹp có thể điều chỉnh độ rộng | 200-2000mm |
| Kích thước tấm cơ sở | 2200 x 2100mm |
| Tốc độ kiểm tra | 0.25-2.5mm/giây (theo ISTA 6 - SAMS CLUB) |
| Phần mềm | Hệ thống nghiên cứu và phát triển độc lập |
| Hiển thị dữ liệu | Tải trọng, độ dịch chuyển, tốc độ, tỷ lệ tải trọng, thời gian trôi qua |
| Chức năng | Kẹp có thể lên xuống |
| Yêu cầu về tấm kẹp | Làm phẳng hai tấm kẹp và không biến dạng trong điều kiện làm việc (2000 pound) và làm cho tấm kẹp song song và tấm kẹp và mặt đất thẳng đứng. Tấm kẹp dày hơn 25mm. |
| Các tính năng an toàn | 1) Dừng xe điện tử; 2) Bảo vệ quá tải; 3) Công tắc giới hạn trên và dưới; 4) Cảm biến tải với chức năng tự động rút lui |
| Cải thiện sự dịch chuyển và vận tốc | Tốc độ nâng và độ dịch chuyển của máy tính có thể điều chỉnh 0-1200mm. Cải thiện độ chính xác của độ dịch chuyển sẽ được ưu tiên bởi thước đo. |
| Chiều cao mẫu tối đa cho phép | 2.2m, thêm chiều cao dịch chuyển 1.2m, chiều cao tổng thể của thiết bị khoảng 2.8m |
| chiều hướng đóng gói | 11.2CBM |
| tổng trọng lượng | 1000 kg |
| điện áp | Ba pha, 380 ± 10%, 50/60HZ (Điện áp đặc biệt theo yêu cầu) |





Bình luận